Войти Регистрация
Корзина 0 позиций
на сумму 0 ₽

Комплект "Раздатка с пониженным рядом 3,15 VAL-Racing

картинка Комплект "Раздатка с пониженным рядом 3,15 VAL-Racing
картинка Комплект "Раздатка с пониженным рядом 3,15 VAL-Racing
картинка Комплект "Раздатка с пониженным рядом 3,15 VAL-Racing
картинка Комплект "Раздатка с пониженным рядом 3,15 VAL-Racing
  • Бренд Val-Racing
  • Артикул VR-52-В000315
  • Код УТ060657
Подписаться
Комплект деталей "Раздатка VAL-racing" специальный пониженный ряд 3,15», устанавливается в раздаточную коробку автомобилей ЛАДА 4х4 и Шевроле Нива, для увеличения крутящего момента на колесах, без увеличения мощности двигателя.

Передаточное отношение стандартного автомобиля - повышенная передача 1,205 / пониженная -2,135.

Передаточное отношение раздатки ВАЛ-РЕЙСИНГ - повышенная 1,186 / пониженная 3,152.

Передаточное отношение высшей передачи комплекта ВАЛ-РЕЙСИНГ.

28х51/43х28 =1,186

Передаточное отношение высшей передачи серийный комплект с 2000 года.

32х47/39х32 =1,205

Передаточное отношение пониженной передачи комплекта ВАЛ-РЕЙСИНГ.

45х51/26х28 =3,15

Передаточное отношение пониженной передачи серийный комплект с 2000 года.

42х47/29х32 =2,127

Количество зубьев комплекта ВАЛ-РЕЙСИНГ

Шестерни: Высшая 43; Низшая 26

Блок 28:45

Ведомая шестерня: 51

Количество зубьев серийной передачи:

Шестерни: Высшая 39; Низшая 29

Блок 32:42

Ведомая шестерня: 47.

Оптимален, как для подготовки автомобилей для спорта (ралли рейда, трофи и т.п.), так и для охотников, геологов, ремонтных служб и автомобилей специального назначения.

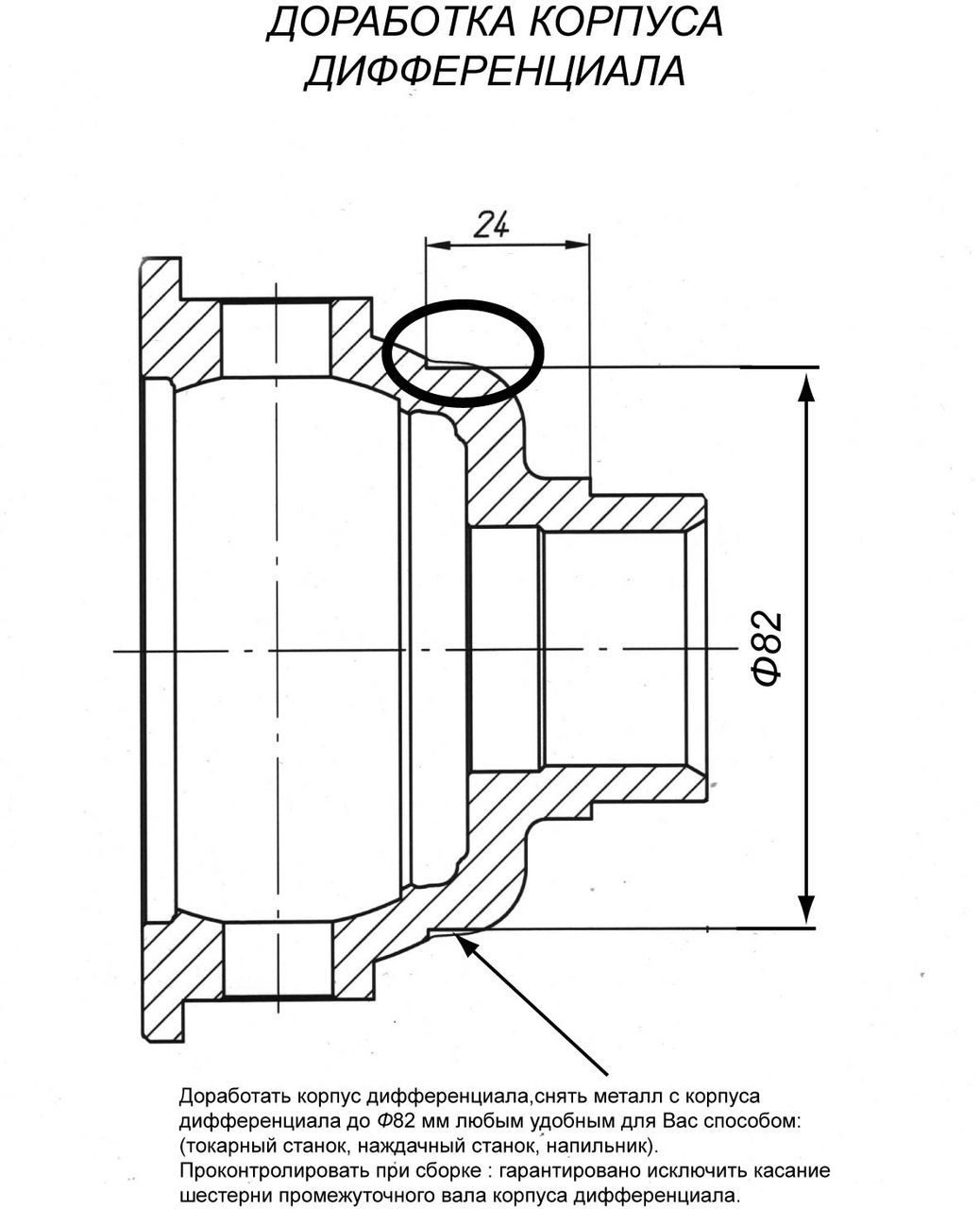
Комплект устанавливается взамен серийных деталей с небольшой доработкой корпуса межосевого дифференциала и возможной доработкой внутренних поверхностей картера раздатки в местах контакта шестернями комплекта. Комплект может быть установлен на любой СТО, имеющей опыт работы с коробками передач.

Обратите внимание, при установке понижающего комплекта изменяется показания спидометра на повышенном ряду на в 12-20 км.час больше фактической скорости автомобиля, при серийной главной паре и колесах.

Все детали и комплектующие, инструкция по установке и доработке корпуса дифференциала поставляются в комплекте.

При установке возможна небольшая доработка внутренних поверхностей корпуса раздатки.

Все шестерни и промежуточный вал оригинальны, изготовлены компанией ВАЛ-РЕЙСИНГ по собственной технологии.

Перед установкой заранее приобретите в магазинах запчастей комплект шестеренок привода спидометра. При демонтаже они ломаются. Они бывают 3-х видов, в зависимости от передаточного отношения установленных у Вас серийных главных пар.

  • Бренд Val-Racing
  • Артикул VR-52-В000315
  • Код УТ060657
Комплект "Раздатка с пониженным рядом 3,15 VAL-Racing
0 0 отзывов
0
0
0
0
0

Сортировать по:

Дата

Оценка

Нет отзывов

У этого товара пока нет отзывов

Отзыв о товаре
Комплект

Комплект "Раздатка с пониженным рядом 3,15 VAL-Racing

Ужасно Плохо Нормально Хорошо Отлично

Доступно 200 символов.


Войти Регистрация
Корзина 0 позиций
на сумму 0 ₽
Этот сайт использует cookie-файлы и другие технологии, чтобы помочь Вам в навигации, а также для предоставления лучшего пользовательского опыта и анализа использования наших продуктов и услуг. Вы можете запретить обработку Cookies в настройках Вашего браузера.
ПринятьТолько обязательные